
傳動鏈條
- 標準傳動鏈條 >
- 重載系列傳動滾子鏈條 >
- 開口銷型傳動滾子鏈條 >
- 高強度傳動鏈條 >
- 特殊傳動鏈條 >
- 免加油自潤滑傳動鏈條 >
- 耐環境傳動鏈條 >
- 齒形鏈條 >
- 石油鏈條 >
- 鏈條配件 >
小型輸送鏈條
- 通用小型輸送鏈條 >
- 免加油小型輸送鏈條 >
- 耐環境小型輸送鏈條 >
- 帶滾輪輸送鏈條 >
- 倍速鏈條 >
- 空心銷軸鏈條 >
- 側彎鏈條 >
- 尖齒鏈條 >
- 帶橡膠附板鏈條 >
- 帶U型附件鏈條 >
- 夾膜鏈條 >
- 工程塑料內節鏈條 >
- 塑料滾子鏈條 >
- 塑料輥道鏈條 >
- 中孔鏈條 >
- 特殊小型輸送鏈 >
- 帶特殊附件輸送鏈 >
大型輸送鏈條
- 通用大型輸送鏈條 >
- 特殊大型輸送鏈條 >
- 大型空心銷軸輸送鏈條 >
- 軸承滾子大型輸送鏈條 >
- 耐環境大型輸送鏈條 >
- 帶滾輪大型輸送鏈條 >
- 倍速大型輸送鏈條 >
- 滾針套筒大型輸送鏈條 >
- 帶特殊附件大型輸送鏈條 >
- 針對特殊用途輸送鏈條 >
- 大型輸送鏈條配件 >
特種輸送鏈條
- 電子波峰焊行業應用 >
- 電鍍設備行業應用 >
- 造紙廠行業應用 >
- 制藥廠包裝機行業應用 >
- 汽車廠行業應用 >
- 牙膏包裝輸送線行業應用 >
- 光伏設備制造行業應用 >
- 畜牧業自動化包裝機鏈條 >
- 巧克力食品行業應用 >
- 人造板/木地板制造行業應用 >
- 醫療設備行業應用 >
- 啤酒廠易拉罐生產線輸送鏈條 >
- 速凍隧道鏈條 >
- 糖機鏈條 >
- 啤酒灌裝輸送鏈條 >
- 人造板輸送鏈條 >
- 噴涂設備輸送鏈條 >
- 煙草機械輸送鏈條 >
- 提升機用鏈條 >
- 紡織機械用鏈條 >
- 紙卷用輸送鏈條 >
- 印鐵烘房線鏈條 >
- 雙向活動鏈條 >
- 刮板輸送鏈條 >
- 洗煤機用輸送鏈條 >
- 堆取料機輸送鏈條 >
- 橡膠手套輸送鏈條 >
- 污水處理輸送鏈條 >
- 雙鉸接輸送鏈條 >
- 鋼廠用輸送鏈條 >
- 塊式輸送鏈條 >
- 筑路機械鏈條 >
- 棕油鏈條 >
- 汽車生產線鏈條 >
- 軟管專用鏈條 >
- 聚酯薄膜橫拉鏈條 >
- 鋪路機用鏈條 >
- 包裝機械鏈條 >
- 挖溝機鏈條 >
- 礦山冶金鏈條 >
- 木材輸送鏈條 >
- 糧食機械輸送鏈條 >
- 垃圾處理用輸送鏈條 >
- 鋼卷傳輸用輸送鏈條 >
工程鏈條
- 工程鋼制套筒鏈條 >
- 鋼制銷合鏈條 >
- 焊接結構彎板鏈條 >
- 曳引用焊接結構彎板鏈條 >
起重鏈條
- 板式鏈條 >
- 堆高機用板式鏈條 >
- LH系列板式鏈連接環 >
- LL系列板式鏈連接環 >
- LH系列板式鏈連接銷軸 >
- LL系列板式鏈鏈接銷軸 >
- 多板銷軸鏈條 >
- 無滾子提升鏈條 >
不銹鋼鏈條
- 不銹鋼滾子鏈條 >
- 不銹鋼滾子鏈條附件 >
- 不銹鋼雙節距輸送鏈條 >
- 不銹鋼雙節距輸送鏈條附件 >
- 不銹鋼空心銷軸鏈條 >
- 不銹鋼側彎鏈條 >
- 不銹鋼加長銷輸送鏈條 >
- 不銹鋼倍速鏈條 >
- 不銹鋼帶滾輪輸送鏈條 >
- 不銹鋼大型輸送鏈 >
- 不銹鋼特種輸送鏈條 >
頂板鏈/鏈板
鏈輪
- 銷齒傳動 >
同步帶輪
- XLH標準梯形齒同步帶輪 >
- HTP圓弧齒同步帶輪 >
- T型齒同步帶輪 >
- AT型齒同步帶輪 >
- BTL錐孔同步帶輪 >
- HTP型錐孔同步帶輪 >
齒輪齒條
蝸輪蝸桿
聯軸器
聯結件
- B系列脹緊套 >
- E系列脹緊套 >
- D系列脹緊套 >
- F系列脹緊套 >
- T系列脹緊套 >
- ML系列脹緊套 >
- HL系列脹緊套 >
- SD系列脹緊套 >
- SS系列脹緊套 >
- SK系列脹緊套 >
- BTL系列錐套 >
- QTL系列錐套 >
- STL系列錐套 >
圓環鏈&吊具
- 礦用圓環鏈條 >
- 冶金專用吊具系列鏈條 >
- 吊裝圓環鏈條 >
- 提升圓環鏈條 >
- 船用/捕魚用圓環鏈條 >
- 出渣機用圓環鏈條 >
- 景觀橋索鞍索夾 >
輸送帶
- 鋼絲繩芯輸送帶 >
- 織物芯輸送帶 >
- 礦用耐沖擊輸送帶 >
- 芳綸輸送帶1 >
- 耐高溫輸送帶 >
- 阻燃輸送帶 >
- 金屬網芯輸送帶1 >
- 鋼絲繩牽引輸送帶1 >
- 管狀輸送帶 >
- 花紋輸送帶2 >
- 覆蓋帶 >
- 擋邊輸送帶 >
- 防附著輸送帶2 >
- 節電型輸送帶2 >
- 防撕裂輸送帶 >
- 隧道用輕型鋼絲繩芯輸送帶2 >
- 特殊高伸長度聚酯帆布輸送帶2 >
- 提升帶1 >
- 夾帶式輸送機覆蓋帶1 >
- 水壓機外胎(膠墊)1 >
- 實際案例 >
脹緊套
離合器
過載保護設備
傳聞已久的“航母倉庫”終于來了,你的快遞上天
亞馬遜最近又搞了個大新聞!
傳聞已久的“航母倉庫”終于來了!
這個龐然大物一露面
就帶來了一場物流業的巨變,
亞馬遜的空中智能物流配送正式面世!
能最完美地解決無人機“最后一公里”
配送問題的方案來了!
亞馬遜這個跨界書商,
近年來在打造智能物流體系上
可謂是下了大工夫。
亞馬遜的地面倉庫其實已經很智能了,
貨物分揀、配送都可以由機器人完成。
然后裝到Prime Air無人機上
直接將貨物送到家門口
但無人機也有一定的缺點,
如續航時間只有半小時左右,
遙控距離有限等,
大大制約了無人機配送的區域。
于是,亞馬遜就搞出了這個東西
一個能夠懸停在空中的快遞中轉站。
亞馬遜給這艘航母起名為:
AirborneFulfillment Center
“空中訂單履行中心”(AFC)
這艘航母載著大量的無人機和貨物,
根據訂單導航
飛到顧客所在區域附近,
懸停在13700米的高空中。
通過中央大腦
對每一臺無人機進行分配和部署,
然后向無人機下達指令。
無人機會載著快遞
從航母下方的艙口飛出,
將貨物送到顧客手中。
快遞送達后,
無人機會自動返回到航母附近,
等待接受下一個指令,
或是停留在艙內補充電量。
一艘航母需要管控一片區域,
每艘航母中配備了幾位工作人員,
負責為無人機更換電池,
或者將包裹放在無人機上。
如果遇到缺貨等狀況,
則會有一艘小型飛艇
將貨物從地面倉庫送到航母上。
省去從倉庫到顧客家中的路程,
無人機耗電量也大大減少。
同時,無人機也能到達一些
人類快遞員不方便到達的地址。
亞馬遜這艘航母的出現,
不僅大大縮短了配送時間,
而且擴大了配送范圍,
整體效率比人類快遞員高了N倍。
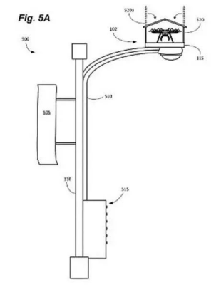
前兩年,亞馬遜發布航母概念視頻的同時,
還發布了一款能收快遞的路燈的設計圖。
顧客不在家,無法接收快遞時,
無人機就會直接將快遞
投進路燈的投遞臺里。
如果恰好沒電了,
還可以順便落在路燈上充個電。
為了讓顧客更快更早地收到快遞,
亞馬遜也是費盡了心思啊!
雖然還沒搞出航母這種夸張的東西,
但中國的快遞,如順豐、京東等,
也早已開始大面積使用機器人。
菜鳥的分揀機器人
一天能分揀50萬單
京東的無人快遞車
也早已上路
↓
順豐的無人機貨運
已經獲得了航空運營許可證
↓
這些都標志著中國的配送行業
在逐漸向無人化發展。
“無人”二字已經成為了大趨勢,
活躍在體力勞動前線的工作者們
必然會受到一定的沖擊。
不過快遞小哥們暫時也不用太過擔心,
畢竟無人機配送目前還只在
人力難以到達的山區等地發揮作用,
面對鱗次櫛比的高樓,
無人機還是沒有人類得心應手啊。
- 上一條:上一篇:5G和AI雙核驅動產業互聯網進入“快車道”
- 下一條:下一篇:區塊鏈如何能在不久的將來改變運輸業
?

粵公網安備 44011202001507號